詳細說明
三利·LG、LG-B型高層建筑多級給水泵介紹:
LG型高層建筑多級給水泵系立式單吸多級分段式離心泵,供輸送常溫清水及物理化學性質類似于清水液體。LG型高層建筑多級給水泵為立式安裝,電機軸與泵軸通過爪型聯軸器聯接,具有結構緊湊、噪音低、占地面積小的優點,主要應用于高層建筑供水,也可應用廠礦,企業給水排水以及低壓鍋爐循環用水。
三利·LG、LG-B型高層建筑多級給水泵結構說明:
LG型高層建筑多級給水泵為立式結構,其吸入口位于泵座上,吐出口位于后段上,呈180°水平方向布置,根據需要,吸入口和吐出口也可以呈0°、90°、270°布置,可根據揚程的需要選擇水泵的級數。
LG型高層建筑多級給水泵的主要零件有:泵座、中段、后段、葉輪、導葉套、導葉、后導葉、支座、電機座、軸、軸承、軸套、密封環、平衡鼓、平衡鼓套等(25LG、32LG和40LG三種泵沒有平 衡鼓和平衡鼓套,而設有水封環,裝在填料腔的底部)。 泵座、中段、后段、葉輪、導葉套、導葉、后導葉、支座、電機座、軸套乙、密封環均為鑄鐵制成。
泵軸為合金結構鋼制成,中間有葉輪、軸套乙、平衡鼓、用鍵和小圓螺母固定在軸上組成轉子部件,軸的下端裝有軸套甲與滑動軸套相配合,軸的上端裝有兩個角接觸球軸承,借以支承轉子部件,泵軸的上端與電機軸的下端通過爪型聯軸器聯接。
密封裝置采用軟填料密封和機械密封。在采用軟填料密封時,與之相摩擦的軸套丙為碳素鋼制成,并經淬火處理,以增加面磨性。
葉輪為鑄鐵制成,由于葉輪前后受壓不等,必然存在軸向力,此軸向力絕大部分由平衡鼓來承擔(25LG、32LG和40LG則由水封環組成平衡管路承擔)。其余小部分殘余軸向力由軸上端的兩個角接觸球軸承來承受,由平衡鼓和平衡鼓套組成的平衡裝置,磨損后可以更換。
在泵座、中段上裝有密封環和口環、用以減少高壓水漏回進水部分,密封環磨損后可更換。泵上端的角接觸球軸承用鈣基黃油潤滑,下端的滑動軸承(軸瓦)以泵輸送的液體潤滑,泵的旋轉方向,從電機端看為逆時針方向轉動。
三利·LG、LG-B型高層建筑多級給水泵安裝方法:
|
剛性連接
|
柔性連接
|
||||||||||||||||
|
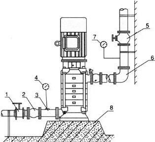
1 |
球閥 |
2 |
撓性接頭 |
3 |
取壓直管 |
4 |
真空壓力表 |
1 |
球閥 |
2 |
撓性接頭 |
3 |
取壓直管 |
4 |
閘閥 |
5 |
彎管 |
|
5 |
閘閥 |
6 |
止回閥 |
7 |
壓力表 |
8 |
水泥臺座 |
6 |
泵 |
7 |
聯接板 |
8 |
JGD型隔振器 |
9 |
水泥臺座 |
10 |
泵 |
1、安裝前應檢查有無雜質在泵的流道內。
2、安裝位置應盡可能靠近水源處。
3、LG型高層建筑多級給水泵與底座安裝有兩種方式,一種直接裝在水泥基礎上的剛性連接,另一種是采用JGD型減振器安裝的柔性連接,具體方法見安裝示意圖所示。
4、直接泵放在基礎上墊高30~40毫米(準備充填水泥漿之用),然后進行校正,并穿好地腳螺栓,充填水泥砂漿,經3~5開水泥干涸后,重新校正,待水泥完全干涸后,擰緊地腳螺栓的螺母。
5、安裝管路時,進、出水管路都應有各自的支承,不應使泵的法蘭承受過大的管路重量。
6、用于有吸程場合,進水管端應裝有底閥,并且進口管路不應有過多彎道。同時不得有漏水、漏氣現象存在。
7、在進口管路裝有過濾網,以防雜質進入葉輪內部。濾網的有交面積應是進水管面積3~4倍,以液體的自由暢通。
8、為了維護和使用方便,在泵的進口管路上安裝一只球閥和在泵出口附近安裝一只壓力表,并在壓力表前面安裝一只自位閥(防水錘),以泵在額定范圍內運行,泵的正常運行和使用壽命。
9、進口如需擴徑連接,請選用偏心異徑管道接頭。
上海三利給水設備有限公司生產銷售LG型高層建筑多級給水泵,型號齊全,歡迎咨詢選購!
三利·LG、LG-B型高層建筑多級給水泵性能介紹:
系統工作壓力為2.4Mpa,即泵的吸入壓力+泵揚程≤2.4MPa,泵的靜壓試驗壓力3.6Mpa。
訂貨時請注明系統工作壓力,若泵系統工作壓力超過2.4Mpa時,請在訂貨時予以說明,以便另行設計、制造。
三利·LG、LG-B型高層建筑多級給水泵主要用途:
LG型高層建筑多級給水泵適用于住宅、辦公大樓等高層建筑恒壓供水、消防、噴淋給水設備配套用泵;也適用于化工流程冷卻塔的自動;系統穩壓、生產工藝循環用水、遠距離輸送、鍋爐給水等給水設備之用。可輸送的液體為常溫(<80℃)(熱水型可輸送溫度小于105度的介質)清水或物理、化學性質類似于水的常溫介質。
三利·LG、LG-B型高層建筑多級給水泵產品特點:
1、結構緊湊、體積小、外形美觀,其結構決定安裝占地面積小,如加上防護罩可置于戶外使用。
2、葉輪直接安裝在電機軸上,從而泵的同心度,因而增強了運行穩定性和延長使用壽命。
3、軸封采用機械密封或機械密封的組合,采用的質合金密封環,增強了密封的耐磨性能有效壽命。
4、安裝檢修方便,無需拆動管路系統。泵進口和出口為相同口徑,簡化了管路的連接。
5、可根據流量和揚程的需要采用泵的串、并聯運行方式。
6、揚程可根據需要增減水泵級數并結合切割葉輪外徑予以滿足,而不改變安裝占地面積。
手機版|
二維碼|

您還沒有登錄,請登錄后查看聯系方式
發布供求信息
推廣企業產品
建立企業商鋪
在線洽談生意





