詳細說明
三利·ZX型自吸式離心泵簡介:
「上海三利給水設備有限公司 」
目前產品:主要以工業設備配套水泵油泵各種工程配套水泵化工設備配套水泵變頻恒壓供水成套設備為主。
堅持不懈努力與發展,優良品質,滿足客戶需求而又可以按客戶要求特殊設計定做。
竭誠歡迎海內外各界人士蒞臨本公司指導,垂詢惠顧,共創輝煌明天。
三利·ZX型自吸式離心泵產品概述:
ZX型自吸式離心泵(簡稱自吸泵),是上海三利給水設備有限公司生產的是根據有關技術資料經吸收、改進后研制而成的節能泵類產品,它具有結構緊湊、操作方便、運行方便、維護容易,并有較強的自吸能力等優點。管路中不需要安裝底閥,工作前只需泵體內儲有定量即可,因此簡化了管路系統,又勞動條件。
ZX型自吸式離心泵在工農業生產,搶險救助,如排澇,救火中作為應急泵使用效。ZX型自吸式離心泵廣泛適用石油、化工、冶金、機械、化纖、食品、能源、交通等工業部門城市給水,亦可用于農業排灌,噴灌。供輸送清水或粘度小于5°E,溫度低于80℃物理及化學性質類似清水的其它液體。
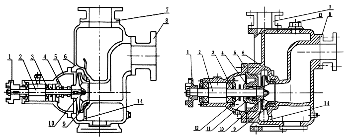
三利·ZX型自吸式離心泵工作原理與結構說明:
|
1 |
聯軸器 |
2 |
泵軸 |
3 |
軸承 |
4 |
機械密封 |
5 |
軸承體 |
6 |
泵殼 |
7 |
出口座 |
|
8 |
進口座 |
9 |
前密封環 |
10 |
葉輪 |
11 |
后蓋 |
12 |
檔水圈 |
13 |
加液孔 |
14 |
回液孔 |
ZX型自吸式離心泵均采用軸向回液的泵體結構。泵體由吸入室、儲液室、渦卷室、回液孔、氣液分離室等組成,泵正常起動后,葉輪將吸入室所存的液體及吸入管路中的空氣一起吸入,并在葉輪內得以完全混合,在離心力的作用下,液體夾帶著氣體向渦卷室外緣流動,在葉輪的外緣上形成有一定厚度的白色泡沫帶及高速旋轉液環。氣液混合體通過擴散管進入氣液分離室。此時,由于流速突然降低,較輕的氣體從混合氣液中被分離出來,氣體通過泵體吐出口繼續上升排出。脫氣后的液體回到儲液室,并由回流孔再次進入葉輪,與葉輪內部從吸入管路中吸入的氣體再次混合,在高速旋轉的葉輪作用下,又流向葉輪外緣。隨著這個過程周而復始地進行下去,吸入管路中的空氣不斷減少,直到吸盡氣體,完成自吸過程,泵便投入正常作業。
在一些泵的軸承體底部還設有冷卻室。當軸承發熱引起軸承體溫升超過70℃時,可在冷卻室處通過任意一只冷卻液管接頭,注入冷卻液循環冷卻。泵內部防止液體由高壓區向低壓區泄漏的密封機構是前后密封環,前密封環裝在泵體上,后密封環裝在軸承體上,當泵經長期運轉密封環磨損到一定程度,并影響到泵的效率和自吸性能時,應給予更換。
三利·ZX型自吸式離心泵使用說明:
(一)、起動前的準備及檢查工作:
1,根據泵的工作運轉狀況,分別采用鈣基黃油和10號機油進行潤滑,如果采用黃油潤滑的泵應定期向軸承箱內加注黃油,采用機油潤滑的泵,如果油位不足,則加足之。
2,檢查泵殼內的儲液是否高于葉輪的上邊緣,如若不足,可以從泵殼上的加液口處直接向泵體內注入儲液,不應在儲液不足的情況下啟動運轉,否則泵不能正常工作,且易損壞機械密封。
3,檢查泵的轉動部件是否有卡住磁碰現象。
4,檢查泵體底腳及各聯結處螺母有無松動現象。
5,檢查泵軸與電動機主軸的同軸度和平行度。
6,檢查進口管路是否漏氣,如有漏氣,必須設法排除。
7,打開吸入管路的閥門,稍開(不要全開)出口控制閥。
(二)、起動及操作:
1,點動泵,注意泵軸的轉向是否正確。
2,注意轉動時有無不正常的聲響和振動。
3,注意壓力表及真空表讀數,起動后當壓力表及真空表的讀數經過一段時間的波動而指示穩定后, 說明泵內已經上液,進入正常輸液作業。
4,在泵進入正常輸液作業前即自吸過程中,應注意泵內水溫升高情況,如果這個過程過長, 泵內水溫過高,則停泵檢查其原因。
5,如果泵內液體溫度過高而引起自吸困難,那么可以暫時停機,利用吐出管路中的液體倒流回泵內或向泵體上的加儲液口處直接向泵內補充液體,使泵內液體降溫,然后起動即可。
6,在工作過程中如發生振動和曝聲,有可能是泵發生汽蝕所致,汽蝕產生的原因有兩種:一是進口管流速過大;二是吸程過高。流速過大時可調節出口控制閥,升高壓力表讀數,在進口管路有堵塞時則應及時排除;吸程太高時可適當降低泵的安裝高度。
7,在工作過程中因故停泵,需再起動時,出口控制閥應稍開(不要全閉)這樣既有利于自吸過程中氣體從吐出口排出,又能泵在較輕的負荷下啟動。
8,注意檢查管路系統有無滲漏現象。
(三)、停泵:
1,必須關閉吐出管路上的閘閥。
2,使泵停止轉動。
3,在寒冷季節,應將泵體內的儲液和軸承體冷卻室內的水放空,以防凍裂機件。
三利·ZX型自吸式離心泵維護和拆裝:
ZX型自吸式離心泵在泵正常情況下,一般不需要經常拆開。當發現故障后給予排除即可。
1.維護該泵時應注意幾個主要部位:
a)滾動軸承:當泵長期運行后,軸承磨損到一定程度時,須進行更換。
b)前密封環、后密封環:當密封環磨損到一定程度時,須進行更換。
c)機械密封:機械密封在不漏液的情況下,一般不應拆幵檢查。若軸承體下端泄漏口處產生泄漏時,則應對機械密封進行拆檢。裝拆機械密封時,必須輕取輕放,注意配合面的清潔,保護好靜環和動環的鏡面,嚴禁敲擊碰撞。因機械密封而產生泄漏的原因主要是摩擦付鏡面拉毛所至。其修復辦法,可對磨擦付端面進行研磨使鏡面。機械密封產生泄漏的另一原因是“O”形橡膠密封圈(或緩沖墊)安裝不當、或者變形老化所至。此時則需調整或更換“O”形密封圈進行重新裝配。
2. 自吸泵拆裝順序:
a)拆下電動機或脫出聯軸器。
b)拆出軸承體總成,檢查葉輪和前口環的徑向間隙,檢查葉輪螺母有無松動。
c)拆下葉輪螺母,拉出葉輪,檢査葉輪和后密封環的徑向間隙。
d)松出機械密封的緊定螵釘,拉出機械密封的動環部分,檢查動、靜環端面的貼合情況,檢查“O”形密封圈(或緩沖墊)的密封情況。
e)旋出聯軸器的緊定螺母,拉出聯軸器。
f)拆下軸承端蓋,拆出泵軸和軸承。
g)安裝時以相反順序進行裝配即可。
三利·小提醒:
『 上海三利給水設備有限公司 』
- 請客戶在下單或者購買之前
- 請先通過跟我們的業務員溝通或者來電咨詢
(1)價格問題:價格以本公司實際報價為準!
(2)產品問題:所有商品我們公司在發貨之前都進行嚴格質檢,無任何問題才發貨!
(3)產品屬性:下單之前或者購買之前請咨詢您需要的商品型號、規格尺寸等,以便您所買的產品和您所需的產品尺寸是否一樣。
手機版|
二維碼|

您還沒有登錄,請登錄后查看聯系方式
發布供求信息
推廣企業產品
建立企業商鋪
在線洽談生意





