詳細說明
上海三利給水設備有限公司生產各種多級消防泵,消防水泵,消防穩壓設備,消防增壓穩壓設備,臥式消防泵,立式消防泵等各類產品,質量穩步提高,多次經質量部門抽檢,產品出廠做到高質量檢測。
一、XBD-GDL型立式多級管道消防泵產品概述:上海三利給水設備有限公司
立式多級消防泵組是參照參照消防泵標準GB6245-2006《消防泵性能要求和試驗方法》之規定,結合本公司多年的生產實踐經驗,參考現代水利模型設計而成,專門用于消防系統的離心泵。產品經中國消防裝備質量測試中心型式試驗,各項性能指標全部達到標準要求。
二、XBD-GDL型立式多級管道消防泵產品特點:上海三利給水設備有限公司
1、該泵為立式、多級節段式結構,泵進出水法蘭處在同一直線上,葉輪采用水力平衡方式平衡軸向力泵下端有一導軸承,軸通過夾殼聯軸器與電機軸固定傳動,外筒為不銹鋼筒;
2、軸封采用機械密封;
3、泵由電機驅動,從電機端方向看,泵為順時針方向旋轉;
4、泵出口設有排氣閥(氣嘴),可泵內氣體能完全排盡;
5、葉輪采用不銹鋼材質,避免長期停機后葉輪與導葉間銹合。
三、XBD-GDL型立式多級管道消防泵主要用途:上海三利給水設備有限公司
立式多級消防泵組主要用于消防系統管道增壓送水。也可適用于工業和城市給排水,高層建筑增壓送水、遠距離送水、采暖、浴室、鍋爐冷暖水循環增壓、空調制冷系統送水及設備配套等場合。
四、XBD-GDL型立式多級管道消防泵型號意義:上海三利給水設備有限公司
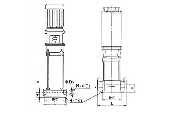
五、XBD-GDL型立式多級管道消防泵結構簡圖及零部件材質表:上海三利給水設備有限公司
六、XBD-GDL型立式多級管道消防泵安裝說明:上海三利給水設備有限公司
1、安裝時管路重量不應承受在泵上,否則容易損壞水泵;
2、安裝時必須擰緊地腳螺栓,且每間隔一定時間段應對泵進行檢查防止其松動,以免水泵啟動是發生劇烈振動而影響泵的性能;
3、安裝水泵前應仔細泵流道內有無影響水泵運行的硬質物(如石塊、鐵砂等)以免水泵運行時損壞過流部件;
4、為了維護方便和使用安全,在泵的進出口管路上安裝一只調節閥及在泵進出口附近安裝一只壓力表,對于高揚程泵,為防止水錘,還應在出口閘閥前安裝一只止回閥以應付突然斷電等失去動力事故,水泵正常運行,增加水泵的使用壽命;
5、泵用于有吸程場合,應裝有底閥,并且進口管路不應有過多彎道,同時不得漏水、泄氣現象,以免影響水泵的吸入性能;
6、安裝管路前轉動水泵的轉子部件,應無摩擦聲或卡死現象,否則應將泵拆開檢查原因。
多級消防泵與單級消防泵區別: 上海三利給水設備有限公司
1、多級消防泵與單級消防泵相比,其區別在于多級泵有兩個以上的葉輪,能分段地多級次地吸水和壓水,從而將水揚到高的位置,揚程可根據需要而增減水泵葉輪的級數。
2、其次區別在于消防泵的流量曲線比較平緩,不會由于流量較小而揚程增加很大,從而使消火栓口壓力超過。
3、多級消防泵我們可以把它歸類為多級泵。
4、而單級消防泵我們可以把它歸類為單級泵。
5、無論多級消防泵還是單級消防泵我們都可以把它歸類為管道離心泵。
帶3CF認證,型號齊全!
上海三利給水設備有限公司
解決消防驗收難題,貼心服務歡迎來電...
手機版|
二維碼|

您還沒有登錄,請登錄后查看聯系方式
發布供求信息
推廣企業產品
建立企業商鋪
在線洽談生意





